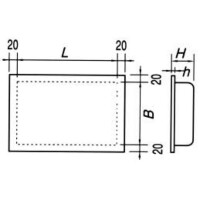
KPMF-1540A
-
KPMF-1540A
-
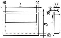
KPMT-1530
・シュート・ホッパーに取りつけて用い、化学工業、薬品工業、その他の各種粉体工業関連の原料の中から鉄粉などの磁性物を吸着し、分離することに利用されます
・強力な吸引力です。しかもコンパクトタイプで堅牢です
・取付が容易で、さらに電源不要のため、場所を選びません
・強力型は、希土類磁石を使用した強力型プレートマグネットです。
【フラットタイプ KPMF】
・全表面がステンレス(SUS-304)製。
・遠距離の吸引力が大。
・フランジの部分は加工可能。
【磁極板付 KPMT】
・F型の吸着面に鉄製の磁極板を設置。
・磁極板により、吸着した鉄片等には保持機能が作用し後方からの原料に押し流されることなく止まる。

