KLPC-FL
-
KLPC-FL
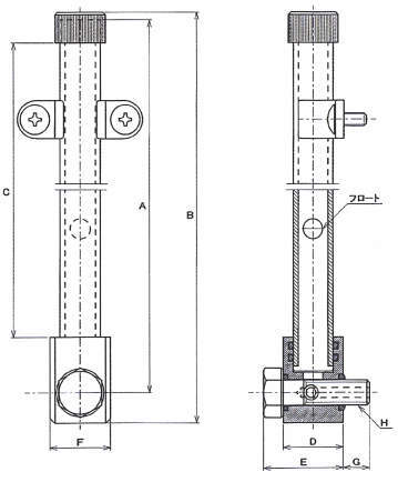
■L型オイルゲージ
・1ヶ所のネジ止のみで、取り付けが可能です。
■KLPC-SL・KLPC-FL型は、本体に耐熱性、耐薬品性に優れた特殊合成樹脂を採用し用途に応じて、ゲージ管及びパッキンを選択出来るようにした耐熱・耐薬品用オイルゲージです。
・ゲージ管として、ポリサルホン樹脂(SL型)、PFA樹脂 (FL型)を用意しております。
・各部品は耐熱性・耐薬品性に低れております。
■SL型は、フロートが入っております。
■透視角が大きく、側面からも油面が確認できます。
■本体とゲージ管がOリングのみでシール、接続されています。
■部品点数が少なく簡単に取り付け、取り替えができます。
■内部の汚れもゲージ管を取り外すだけで自由に掃除できます。
■先端にあるキャップにより、ゲージ内の空気の流通ができるようになっています。
■KLPC-SL 耐熱100℃、KLPC-FL 耐熱:150℃
■ゲージ管を安定させる為、付属品としてゲージ管ガイドを用意しておりますので適当な位置に取り付けて下さい。
■ゲージ管の長さを自由に変える事ができます。

