SEC-TZB-ALK
-
SEC-TZB-ALK
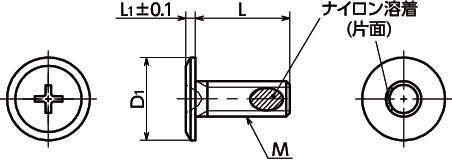
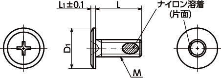
・十字穴付き超極低頭ボルト。
・ナイロン溶着つき。
・機器・装置の省スペース化や上部スペースが限られた箇所に。
・ねじ部に溶着したナイロンの摩擦によってねじの戻り回転を抑制します。
・締結力を失っても、戻り回転が抑制されるため、ねじの脱落を防止します。
・ナイロン溶着の耐熱温度は120℃です。
・よりカムアウトしにくい特殊な十字穴を採用した「SEQ-TZB-ALK」もございます。M3・M4の一部L寸法をラインアップしています。
<用途>
・機器・装置の省スペース化
・ねじの戻り止め・脱落防止
共通仕様
| 本体 | スティール 三価クロメート処理 |
|---|---|
| ナイロン溶着 | ナイロン11 |

