305
-
305
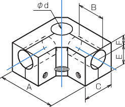
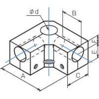
パイプとクランプの上部がほぼ一定に
【パイジョンとは】
クランプとパイプを組合わせて形づくる、多目的システムアップパーツです。
【特長】
■軽くて強いアルミ合金製
・穴をΦHBに仕上げ、アルマイト処理を施して防錆性と耐性を高めています。
■スリット締付け構造
・パイプを傷めず六角レンチで組み立てが出来ます。
■繰り返しの着脱が可能
・ジュラルミン材の復元力を活かしています。
■5色のカラー化に対応
・約2,000アイテムがカラーバリエーションに対応しています。
【応用】
■機械装置・試作・実験・デモ機などのフレーム組立
■機能器具・測定・照明・センサーなどの取付けアーム
■エアブロー・スプレーガンなどの各種器具取付に
■パイジョンとアルミフレームとの組合せに

