SBC360
-
SBC360
3次元パイジョン。ステンレスで新たな領域へ
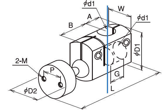
【3次元ブラケット】
・球体変動構造のため、位置合わせが自由自在。
・材質がSUS304、耐食性、耐熱性に優れている。
・通常のマルパイジョンの組み合わせでも同じ構造にできますが、ネジを締める箇所が多くなるため調整が難しく、締めている間に取付け位置がずれる可能性があります。3次元パイジョンなら、そのような心配がありません。
・材質をステンレスにすることにより食品・化粧品・薬品業界をターゲットに。

