BC-006・ボールBC-858ロングBC-859/BC-005
-
BC-006・ボールBC-858ロングBC-859/BC-005
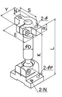
用途が多いジョインベースとジョインボールの組み合わせ 2ヵ所屈折で自由自在
【3次元ブラケット】
機器取付け部(ジョインボール)が自在に可変、2ヶ所可変タイプは、よりフレキシブルに。
カメラ・照明・センサー・測定・加工などの部品取付け焦点合わせから可変取付まで自由自在
【球体変動で無限の位置合わせを可能にします。】
・用途で組合せできます。
・ジョインボール球体13種類
・ジョインベース8種類

