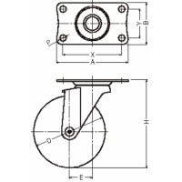
420E-UR50
-
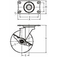
420E-UR50
-
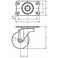
420E-R100
-
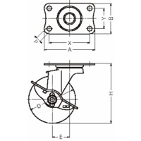
415E-R65
-
415E-UR100
・クロームメッキ仕上げで、デザイン性と軽快さを要求される機器に最適なキャスターです。
・420E/415E-U・UR・MC40mmは車輪径38mmを使用の為、取付け高さ(Hmm)は57mmとなります。
・40mmの取付け座は三価クロム化成処理です。
・420E/415E-150mmと併用できる固定式キャスターは製作できません。
・スチール製
・RoHS適合品
<使用例>
・事務機器や家具、屋内運搬車や軽量ラック等、幅広く使用されています。

