420SRP-UB65
-
420SRP-UB65
-
420SRP-R75
-
420SRP-NRB100
-
420SRP-URB125
-
420SRP-FR100
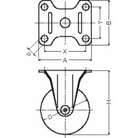
・代表的なシリーズである旋回式キャスター420S/413Sと併用できる高品質な固定式キャスターです。
・直線的な動作が求められる場合、固定式キャスターのみで使用される事もあります。
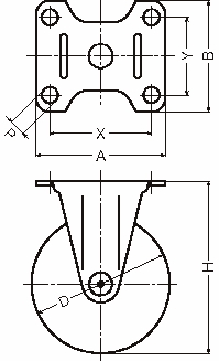
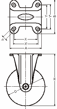
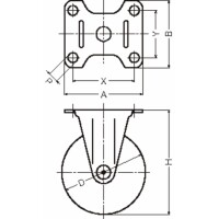
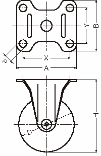
・420SRPは旋回式キャスター420S/413Sと取付け寸法が同じです。
・スチール製
・RoHS適合品
<使用例>
・工場や店舗、事業所などのさまざまな環境で幅広く使用されています。(車輪径50−75mm)
・工場、事業所などに多く使用されており、堅牢で安定感もあり重量物運搬用に最適です。(車輪径100−150mm)

