920SMK-RB150
-
920SMK-RB150
-
915SMK-RB100
-
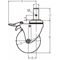
915MK-RB100 ストッパー作動時
耐蝕性、耐水性に優れたオールステンレス製!
・耐蝕性・耐水性に優れ、研ぎ澄まされた外観を持つ差込みオールステンレスキャスターです。
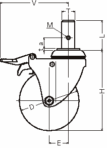
・ストッパーは旋回と車輪を同時に制御できるトータルロック機構を採用しています。
・旋回部のボールレース径が大きく、幅広車輪の採用で旋回性能、走行安定性が抜群です。
・915SMK-150mmのみV寸法より旋回半径が大きくなります。
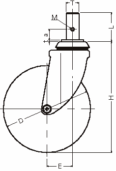
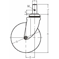
注)aは取付けねじ穴からワッシャ―までの寸法です。
・取付けパイプ外径Φ32、Φ38専用ソケットもあります。ソケットは別途ご用命ください。
・ステンレス製
・RoHS適合品
<使用例>
・医療関係や食品会社等の錆や腐蝕をきらう環境で使用される機器等に最適です。

