909LK-42S100
-
909LK-42S100
-
909LK-42S150
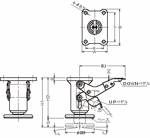
ハンマーロック 909 は操作性・耐久性に優れ安全で軽量化された樹脂製フロアロックです。
・操作性・耐久性に優れ安全で軽量化された樹脂製フロアロックです。
・909LK-42Sの適正取付高さは420S-100mm~150mmの取付高さと同じですので高さ調節する事無く使用できます。
・909LK-P0Sの適正取付け高さは400P0S-130mmの取付け高さと同じですので高さ調節する事無く使用できます。
<使用例>
・安全保持を必要とする運搬台車や機器等に幅広く使用されています。
・樹脂製
・RoHS適合品
【ハンマーロックの安全な使い方】
<ロックする場合>
・ダウンペダルを下まで踏み込んでください。
・その時、アップペダルはダウンペダルより高い位置でセットされ、完全ロック状態になります。
<アンロック(ロック解除)の場合>
・アップベダルを下へ踏み込むとダウンペダルと同じ位置になりますので、その時に足を引きながらペダルよりはずして下さい。
・するとベースが上に昇りロックが解除されます。

