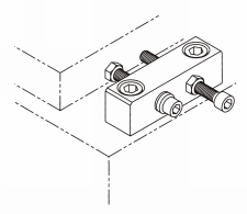
位置決め、調整に便利なセットベース
・モーターベースや治具の位置決め、ベルトのテンション調整にお使いいただけます。
・位置調整用と固定用の2つのボルトを並列させたタイプ。
・ベース部を押し引きして調整した後、固定用ボルトで確実に位置決めします。
・ベースカラーを使った新方式を採用。市販のボルトで押し引き調整可能にしました。
共通仕様
| 本体 | BCB-Z:SS400(黒染め) BCB-S:SUS304 |
|---|---|
| スラストワッシャー | BCB-Z:含油メタル BCB-S:SUS304(窒化処理) |
| ベースカラー | BCB-Z:S45C-D(黒染め) BCB-S:SUS303 |

