CP133
-
CP133
共通仕様
| 本体 | SCM440、四三酸化鉄皮膜、HRC33~39 |
|---|---|
| Oリング | フッ素ゴム、(FKM) |
イマオコーポレーション
CP133
CP133
| 本体 | SCM440、四三酸化鉄皮膜、HRC33~39 |
|---|---|
| Oリング | フッ素ゴム、(FKM) |
2件の型式
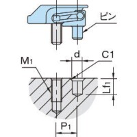
| 型式 | S | W | W1 | H1 | L1 | P | D | H2 | M | Lf | L | H |
クランプ力 (kN) |
許容締付 トルク (N・m) |
質量 (g) |
適応 Oリング 呼び番号 |
取付 | |||
|---|---|---|---|---|---|---|---|---|---|---|---|---|---|---|---|---|---|---|---|---|
| M1 | d (+0.3/0) | Lf1 | P1 | |||||||||||||||||
| CP133-04007 | 2 | 15 | 5 | 3 | 12 | 8 | 4 | 5 | M4 | 2 | 23 | 7 | 2 | 2.7 | 13 | SS060(線径1 内径6) | M4 | 4 | 6 | 8 |
| CP133-05009 | 2.5 | 19 | 7 | 4 | 14 | 10 | 5 | 6 | M5 | 3 | 28 | 9 | 3 | 5.4 | 27 | S8 (線径1.5 内径7.5) | M5 | 5 | 7 | 10 |
| 型式 | 商品コード | 単位 |
価格 (円) |
基準納期 | |
|---|---|---|---|---|---|
| 日伝 | メーカー | ||||
| CP133-04007 | CP133-04007 | P | 3,200 | 在庫品 | 在庫品 |
| CP133-05009 | CP133-05009 | P | 3,400 | - | 在庫品 |
製品についてのご質問やお困りごとなどお気軽にご相談ください!