CP134
-
CP134
共通仕様
| 本体 | SCM440、四三酸化鉄皮膜、HRC33~39 |
|---|---|
| Oリング | フッ素ゴム(FKM) |
イマオコーポレーション
CP134
CP134
| 本体 | SCM440、四三酸化鉄皮膜、HRC33~39 |
|---|---|
| Oリング | フッ素ゴム(FKM) |
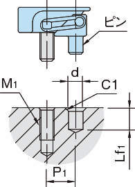
2件の型式
| 型式 | S | W | W1 | H1 | L1 | P | D | H2 | M | Lf | L |
クランプ力 (kN) |
許容締付トルク (N・m) |
質量 (g) |
適応Oリング呼び番号 | 取付 | |||
|---|---|---|---|---|---|---|---|---|---|---|---|---|---|---|---|---|---|---|---|
| M1 | d (+0.3/0) | Lf1 | P1 | ||||||||||||||||
| CP134-04007 | 2 | 15 | 5 | 7 | 9 | 8 | 4 | 5 | M4 | 2 | 20 | 2.5 | 2.7 | 13 | SS060(線径1 内径6) | M4 | 4 | 6 | 8 |
| CP134-05009 | 2.5 | 19 | 7 | 9 | 11 | 10 | 5 | 6 | M5 | 3 | 25 | 3.5 | 5.4 | 26 | S8 (線径1.5 内径7.5) | M5 | 5 | 7 | 10 |
| 型式 | 商品コード | 単位 |
価格 (円) |
基準納期 | |
|---|---|---|---|---|---|
| 日伝 | メーカー | ||||
| CP134-04007 | CP134-04007 | P | 3,200 | 在庫品 | 在庫品 |
| CP134-05009 | CP134-05009 | P | 3,400 | 在庫品 | 在庫品 |
製品についてのご質問やお困りごとなどお気軽にご相談ください!