FGシリーズ
-
FGシリーズ
高周速静音
■高周速静音ボールねじ Fシリーズは、当社従来品の定格荷重やボール径等の仕様を低下させることなく、高周速化・音圧レベルの低減・コンパクト化・長寿命化を実現しました。
■新循環構造で高周速対応化を実現!
・KURODA独自の設計・製造技術で最高5000min-1の高速回転を実現しました。
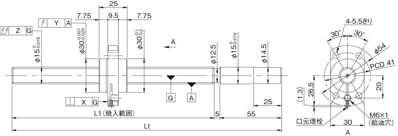
・最高送り速度として2.5m/secを可能にしました。(ねじ軸径15mm、リード30mmの場合)
■音圧レベルの低減と音質を改善
・ゲージで培った精密加工技術と低騒音化に対する長年の取り組みにより、音圧レベルMax.6dBダウンと高音域の音質改善を実現しています。(ねじ軸径25mm、リード25mmの場合)
■コンパクト化を可能にしたナット形状
・ボール循環部品をナットの両端に配置し、独自循環路を設けることによりナットの全長ならびに胴部外径を大幅にコンパクト化しました。
■定格荷重のアップで長寿命化を実現!
従来品で使用しているボール径を変更することなく定格仕様を設計し、基本動定格荷重および基本静定格荷重について当社従来品以上の仕様となっています。

