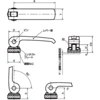
■レバーの上下動作ですばやく締めつけと解放を行います。
■コンタクトプレート以外の各部品はステンレス製。
・耐蝕性にすぐれています。
■調整ねじによってレバーを任意の向きにした状態で、締めつけを調整することができます。
■レバー部とピンを完全に固定する構造で耐久性を高めています。
・くり返しの使用でもレバー部とピンの接触面の摩耗によるガタつきの発生はありません。
共通仕様
| レバー | SCS13(SUS304相当) |
|---|---|
| ねじ | SUS303 |
| ピン | SUS303 |
| コンタクトプレート | ポリアセタール |
| 調節ねじ | SUS303 |

