RSB-DE
-
RSB-DE
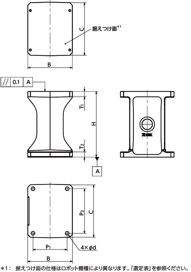
・ロボットの据えつけ高さを調節する鋳鉄製架台です。
・ロボットの据えつけ高さを150、200、250mm高くします。
・装置構内やライン内へのロボット据えつけに。
・可搬重量3kgのデンソーウェーブ製ロボットに対応しています。
・位置決め用のピン穴を設けています。
・特殊仕様の商品にも対応します。お問い合わせください。
<使用上の注意>
・ロボットとロボットスタンド、ロボットスタンドとベースプレートの締結に使用するねじは、強度区分12.9ではめあい長さは1.5d以上を目安にしてください。
・ロボット据えつけ面のねじ穴を貫通穴にできない場合の有効ねじ深さは、T1寸法になります。
・ロボット据えつけ面の傾きをロボットメーカの推奨値以内にしてください。
・NBKの鋳出し文字がある面に向かって左側の面とロボットの正面を合わせてください。この位置関係でロボット据えつけ面の仕様を設計しています。
共通仕様
| 材質・仕上げ | FC250 塗装(灰色) |
|---|

