LWAF-AST
-
LWAF-AST
・スティール製のカムレバー。高強度で耐久性にすぐれています。
・レバーの上下動作ですばやく締めつけと解放を行います。
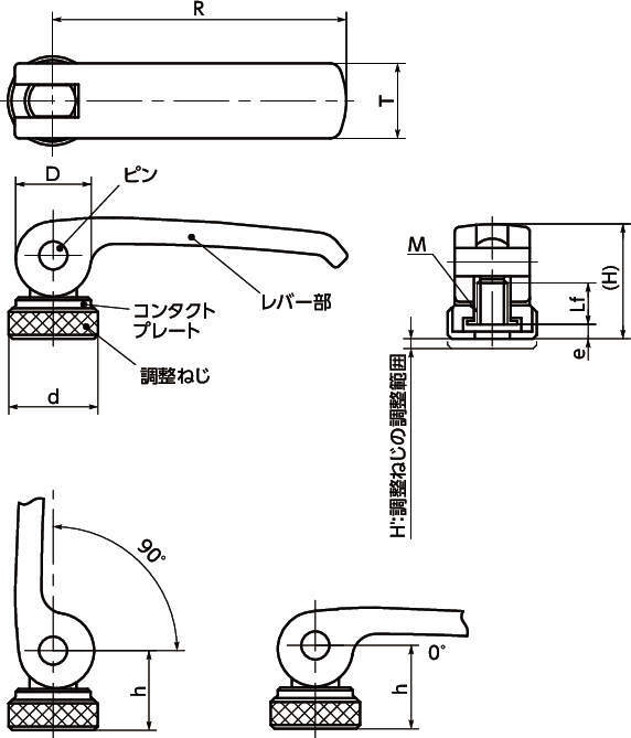
・調整ねじによってレバーを任意の向きにした状態で、締めつけを調整することができます。
・レバー部とピンを完全に固定する構造で耐久性を高めています。くり返しの使用でもレバー部とピンの接触面の摩耗によるガタつきの発生はありません。
・解放時の回転を制限したい場合は、カムレバー回り止めブラケット「LWRBS」(別売)をご使用ください。
<使用上の注意>
・くり返しの使用により、レバー部とコンタクトプレートの接触部が摩耗し、締付力が低下します。定期的に締めつけを調整してください。
・H'(調整ねじの調整範囲)寸法を超えない範囲で調整してください。
共通仕様
| レバー部 | スティール(精密構造用鋼) 三価クロメート処理 |
|---|---|
| ねじ部 | スティール 三価クロメート処理 |
| ピン | SUS303相当 無電解ニッケルメッキ |
| コンタクトプレート | スティール 亜鉛フレークコーティング |
| 調整ねじ | スティール 三価クロメート処理 |

