SNFS-SUC-ALK
-
SNFS-SUC-ALK
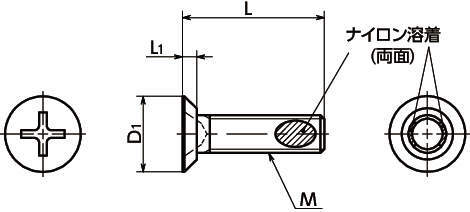
・座面をカットしたステンレス製の十字穴付き皿小ねじです。
・ナイロン溶着つき。
・薄板固定の際に起こる座面や不完全ねじ部の底突きを防止できるため、薄板の固定に適しています。
・不完全ねじ部は最大2山程度です。
・ねじ部に溶着したナイロンの摩擦によってねじの戻り回転を抑制します。
・締結力を失っても、戻り回転が抑制されるため、ねじの脱落を防止します。
・ナイロン溶着の耐熱温度は120℃です。
<用途>
・機器・装置の省スペース化
・ねじの戻り止め・脱落防止
共通仕様
| 本体 | SUSXM7(SUS304相当) |
|---|---|
| ナイロン溶着 | ナイロン11 |

