SECS
-
SECS
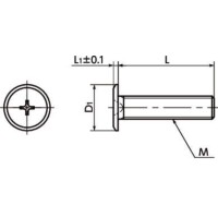
・十字穴付き超極低頭ボルト。
・機器・装置の省スペース化や上部スペースが限られた箇所に。
・よりカムアウトしにくい特殊な十字穴付を採用した「SEQS」もございます。M3・M4の一部L寸法をラインアップしています。
<用途>
・機器・装置の省スペース化
共通仕様
| 材質・仕上げ | SUSXM7(SUS304相当) |
|---|---|
| 強度区分 | A2-50 |
鍋屋バイテック会社
SECS
SECS
・十字穴付き超極低頭ボルト。
・機器・装置の省スペース化や上部スペースが限られた箇所に。
・よりカムアウトしにくい特殊な十字穴付を採用した「SEQS」もございます。M3・M4の一部L寸法をラインアップしています。
<用途>
・機器・装置の省スペース化
| 材質・仕上げ | SUSXM7(SUS304相当) |
|---|---|
| 強度区分 | A2-50 |
31件の型式
| 型式 | M(並目) |
L (mm) |
D1 (mm) |
L1 (mm) |
十字穴の 番号 |
最大締めつけ トルク (N・m) |
1袋 入り数 |
質量 (g) |
|
|---|---|---|---|---|---|---|---|---|---|
| ねじの呼び | ピッチ | ||||||||
| SECS-M3-4 | M3 | 0.5 | 4 | 6 | 0.8 | 1 | 0.63 | 50 | 0.32 |
| SECS-M3-5 | M3 | 0.5 | 5 | 6 | 0.8 | 1 | 0.63 | 50 | 0.34 |
| SECS-M3-6 | M3 | 0.5 | 6 | 6 | 0.8 | 1 | 0.63 | 50 | 0.36 |
| SECS-M3-8 | M3 | 0.5 | 8 | 6 | 0.8 | 1 | 0.63 | 50 | 0.38 |
| SECS-M3-10 | M3 | 0.5 | 10 | 6 | 0.8 | 1 | 0.63 | 50 | 0.42 |
| SECS-M3-12 | M3 | 0.5 | 12 | 6 | 0.8 | 1 | 0.63 | 50 | 0.46 |
| SECS-M3-16 | M3 | 0.5 | 16 | 6 | 0.8 | 1 | 0.63 | 50 | 0.52 |
| SECS-M3-20 | M3 | 0.5 | 20 | 6 | 0.8 | 1 | 0.63 | 50 | 0.63 |
| SECS-M3-25 | M3 | 0.5 | 25 | 6 | 0.8 | 1 | 0.63 | 50 | 0.93 |
| SECS-M3-30 | M3 | 0.5 | 30 | 6 | 0.8 | 1 | 0.63 | 50 | 0.95 |
製品についてのご質問やお困りごとなどお気軽にご相談ください!