SNZ3-TZB-ALK
-
SNZ3-TZB-ALK
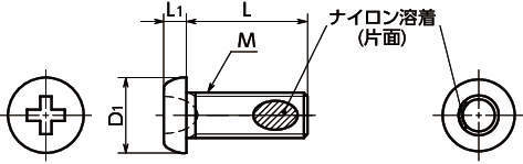
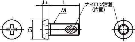
・ナイロン溶着つきの精密機器用の微細ねじ(0番3種)。
・M1.4~M2.6。
・頭部高さの低いなべ小ねじタイプ。上部スペースが限られた用途に。
・ねじ部に溶着したナイロンの摩擦によってねじの戻り回転を抑制します。
・締結力を失っても、戻り回転が抑制されるため、ねじの脱落を防止します。
・ナイロン溶着の耐熱温度は120℃です。
<用途>
・機器・装置のコンパクト化
・ねじの戻り止め・脱落防止
・小型精密機器
共通仕様
| 本体 | スティール 三価クロメート処理 |
|---|---|
| ナイロン溶着 | ナイロン11 |

