SNPX-TBZ-ALK
-
SNPX-TBZ-ALK
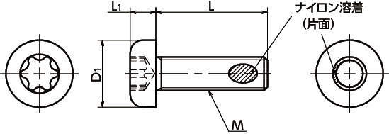
・ナイロン溶着つきのヘクサロビュラ穴付きなべ小ねじです。
・ヘクサロビュラ穴は十字穴と比べて、高い締めつけトルクに耐える形状です。
・締めつけによるリセスの破損が起こりにくく、安全で確実な締めつけができます。
・ねじ部に溶着したナイロンの摩擦によってねじの戻り回転を抑制します。
・締結力を失っても、戻り回転が抑制されるため、ねじの脱落を防止します。
・ナイロン溶着の耐熱温度は120℃です。
<用途>
・ねじ頭部の破損防止
・確実な締めつけ
・ねじの戻り止め・脱落防止
共通仕様
| 本体 | スティール 黒色三価クロメート処理 |
|---|---|
| ナイロン溶着 | ナイロン11 |
| 強度区分 | 4.8相当 |

