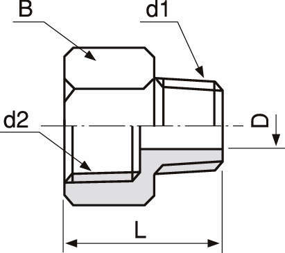
■ネジサイズの変換用です。
■内ネジと外ネジのサイズが異なる配管の接続に使用します。
■六角がついているためスパナ掛けも容易で、しっかりと配管することが出来ます。
■2段違いのサイズまで対応可能です。
■新たにRoHS指令相当品(カドミウム含有75ppm以下)もラインナップ致しました。
【ACE Fittings(ネジ継手)の特長】
・配管の取り回しなどに使われるL型・T型や、内ネジと外ネジの接続が可能なエルボなど、あらゆる配管接続に対応するバリエーションをご用意しています。
・精度の高いネジ切り加工により、規格の異なるネジを強固に接続。黄銅製の鍛造品のため耐久性が高く、漏れのリスクを抑えます。
・国内生産に拘り品質を安定化。急な依頼にも柔軟に対応
・有害物質を含まない「RoHS指令」も対応可能
・さまざまな配管接続に使える豊富なバリエーション
・エルボ・チーズは高耐久性の黄銅鍛造品。気密性が高く、優れた施工性を発揮
・オーダー品にも柔軟に対応
・各種調査・帳票類を提出可能
【ネジ継手の用途例】
・さまざまなネジ配管の接続・分岐に効果を発揮。
・異径サイズの配管同士を容易に接続可能
・ネジ継手は、あらゆるネジ配管の接続に対応しています。異径サイズの配管同士を容易に接続できます。
共通仕様
| 使用圧力 | 6.9MPa以下 |
|---|---|
| 使用温度 | -50℃~+150℃ |
| 使用流体 | 水、空気、油、他材質に悪影響の無い物 |

