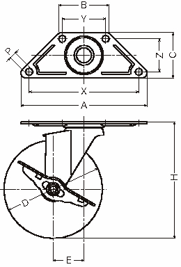
220E-UR50
-
220E-UR50
-
220E-UR100
-
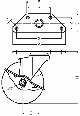
215E-R75
-
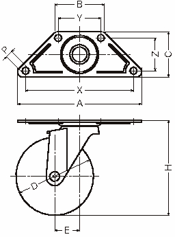
215E-RP125
・取付けベースが無くてもアングルフレーム等に取付けが可能なコーナーキャスターです。
・コーナーキャスターは他に220G/220Sがあります。
・220E/215E-U・UR・MC40mmは車輪径38mmを使用の為、取付け高さ(Hmm)は57mmとなります。
・スチール製
・RoHS適合品
<使用例>
・スチールラックや軽量機械などのさまざまなコーナーで使用されています。

