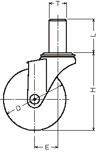
320EK-R65
-
320EK-R65
-
320EK-R100
-
315EK-UR75
-
315EK-MC125
・耐蝕性・耐水性に優れた差込みオールステンレスキャスターです。
・420EK/415EK-50mm~125mmのオールステンレスキャスターです。
・315EK-N50mmに使用のナイロン車輪はストッパー付き専用のナイロン車輪(車輪記号:429 15G-N 50mm)です。
・ステンレス製
・RoHS適合品
<使用例>
・食品会社や厨房等の錆や腐蝕をきらう環境で使用されるワゴンや機器等に最適です。

