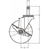
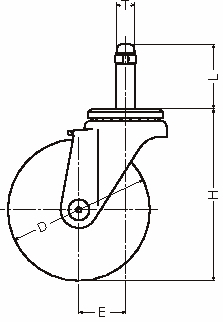
420K-UR50
-
420K-UR50
-
420K-UR85
-
415K-N50
-
415K-N100
・ソケット・ブラケットの選択で、取付け方法や取付け場所を選択できる差込みキャスターです。
・420K/415KーU・C・UR・MC40mmは車輪径38mmを使用の為、取付高さ(Hmm)は55mmとなります。
・ソケット/ブラケットは5種類からお選びください。
・スチール製
・RoHS適合品
<使用例>
・家具やスチールラック等、デザイン性と軽快さを要求される環境に最適です。

