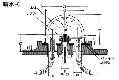
噴水式
-
噴水式
-
V型噴水式
-
V型噴水式
機械のスタートをオイルの噴出で知らせるアラート機能付きオイルポット窓
■機械の始動によって生じた圧力でオイルがノズルから噴出。
■油量のレベルチェック機能はそのままに、機械のON・OFFがひと目で確かめられる安全・安心なアラート機能が加わりました。
■本体の透明カバー部分はポリカーボネート製で耐衝撃性に優れ破損しにくい材質です。
■白色の反射板は赤の文字や線、マークとの組み合わせで優れた視認性を発揮します。また、耐油性のある材質でできているため油汚れも付きにくくなっています。
■分解が簡単な構造になっており、反射板のクリーニングも容易です。
■約100℃の耐熱性を持っています。
共通仕様
| 重量(g) | 36 |
|---|

