LWBMS
-
LWBMS
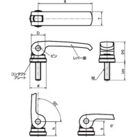
■レバーの上下動作ですばやく締めつけと解放を行います。
■ナットと組み合わせて使用してください。締めつけの調整は、ナットで行います。
■レバー部とピンを完全に固定する構造で耐久性を高めています。
・くり返しの使用でもレバー部とピンの接触面の摩耗によるガタつきの発生はありません。
■カラーバリエーションは4色。
・用途によって選択できます。
・オレンジ・レッドは誘目性が高く操作箇所の明確化に適しています。
・つや消し黒・シルバーグレーは機械・装置の外観と調和する落ち着いた色合いです。
共通仕様
| レバー | 亜鉛ダイカスト、静電塗装(各色) |
|---|---|
| ねじ | SUS303 |
| ピン | SUS303 |
| コンタクトプレート | ガラス繊維強化ナイロン6 |

